AMD Revela Método para Dobrar as Velocidades da Memória DDR5
Arkadiy Andrienko
AMD propôs uma solução de engenharia não convencional que poderia aumentar dramaticamente a velocidade da memória, efetivamente melhorando o desempenho do DDR5 sem exigir uma nova geração. A tecnologia, descrita em uma patente da empresa recentemente publicada, pode dobrar a largura de banda dos módulos de geração atual ao alterar sua arquitetura.
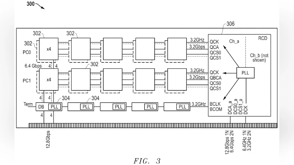
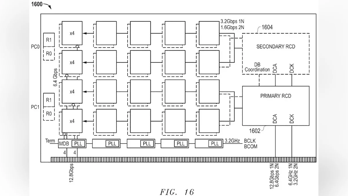
Essa nova abordagem envolve a criação de HB-DIMMs (High-Bandwidth DIMMs), cujo componente chave é um conjunto de chips de buffer especializados que gerenciam múltiplos dispositivos DRAM simultaneamente. Esses chips organizam o fluxo de dados de uma maneira que aumenta a taxa de transferência do barramento de memória efetivo de 6,4 Gb/s para 12,8 Gb/s.
A principal vantagem desse desenvolvimento é sua compatibilidade com processos de fabricação estabelecidos. Levar essa tecnologia ao mercado não exigirá mudanças radicais nos padrões ou nas linhas de produção. A arquitetura é baseada em um sistema de chamados pseudo-canais, onde um controlador especializado decodifica comandos e distribui tarefas entre esses canais independentes. Isso permite o processamento paralelo de dados, afastando-se do acesso sequencial tradicional que limita a largura de banda geral.
A tecnologia suporta modos de operação flexíveis (1n e 2n), o que ajuda a otimizar os tempos e reduzir a dependência de energia. Para diminuir a latência, os engenheiros da AMD também implementaram um formato de transferência de dados não intercalado, que beneficia a integridade do sinal. Esta nova aplicação de patente faz parte da estratégia mais ampla da AMD de encontrar melhorias de engenharia direcionadas para superar gargalos sistêmicos. A empresa já havia registrado patentes nas áreas de sistemas de refrigeração e otimização de cache.
Em vez de simplesmente buscar capacidades mais altas, a empresa está procurando maneiras de melhorar radicalmente a eficiência dos componentes existentes. Uma filosofia semelhante—fazer mais com menos—é demonstrada por outro desenvolvimento da AMD. Os engenheiros anteriormente introduziram um método de renderização para objetos 3D complexos que consome apenas 52 KB de VRAM em vez de gigabytes. Inovações direcionadas em memória e computação poderiam, em última análise, levar a um salto significativo de desempenho em futuros sistemas computacionais.
-
AMD Lança Silenciosamente a Linha Atualizada de Processadores Ryzen Pro -
AMD Revela Ryzen 7 9700F, um CPU de Oito Núcleos sem Gráficos Integrados -
Entusiastas Fazem FSR 4 Funcionar em GPUs AMD e NVIDIA de Geração Anterior -
Uma Reviravolta Inesperada: O Chip de Laptop de Alto Nível da AMD Encontra um Novo Lar em Mini-PCs -
AMD Ryzen 5 9500F Chega ao Mercado Global


